Блок привода бурового насоса НБ 32
Блок привода (рис. 2) насоса бурового предназначен для понижения скорости и преобразования вращательного движения в возвратно-поступательное.
Блок гидравлический
Блок гидравлический предназначен для создания давления жидкости перемещающимися поршнями и нагнетания ее в скважину. Состоит из блока цилиндров со шпильками 1 (рис.7), всасывающего коллектора 13, сменных поршней 11, штоков поршня 2.
Компенсатор сферический
Клапан предохранительный
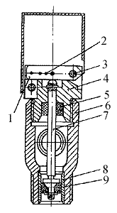
Предназначен для предохранения насоса от поломки при превышении давления сверх допустимого на данном режиме. Предохранительный клапан срабатывает следующим образом: при достижении давления в нагнетательной линии более допустимого, шток 7 (рис.11)давит на рычаг 1, откидывая его вверх. Предохранительная шпилька 2 срезается, шток перемещается в корпусе, открывая сливное отверстие. Шпилька предохранительная должна устанавливаться в рычаге 1 в отверстие, соответствующее предельному давлению, создаваемому насосом, при установленной цилиндровой втулке.

Рис.11. Клапан
предохранительный
1 - рычаг; 2 - шпилька предохранительная; 3 - ось; 4 -
крышка клапана; 5 - амортизатор; 6 - корпус клапана; 7 - шток; 8 - втулка; 9 -
уплотнение; 10 - рычаг
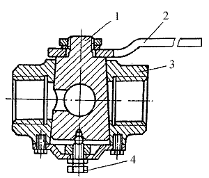
Кран трехходовой
Трехходовой кран (рис. 12) предназначен длв запирания нагнетательного трубопровода и перепуска промывочной жидкости в приемную емкость.
Состоит из:
- корпуса 3
- пробки 1
- регулировочного болта 4
- ручки 2.

Рис. 12. Кран трёхходовой
1 - пробка; 2 - ручка; 3 - корпус; 4 -
болт
Приспособление для выемки
Приспособление для выемки седел (рис. 13) состоит из двух лап (поз.1 и 3), ролика 2. соединенных между собой осью4. Выступающими буртиками лапы упираются в торец седла клапана. Между подушкой б и роликом 2 забивается клин 5, благодаря чему лапы вместе с седлом получают поступательное движение вертикально вверх.


