Приспособление для выемки седел (рис. 13) состоит из двух лап (поз.1 и 3), ролика 2. соединенных между собой осью 4. Выступающими буртиками лапы упираются в торец седла клапана. Между подушкой б и роликом 2 забивается клин 5, благодаря чему лапы вместе с седлом получают поступательное движение вертикально вверх.

Рис. 13. Приспособление для выемки седел
1 - лапа; 2 - ролик; 3 - лапа; 4
- ось; 5 - клин; 6 - подушка
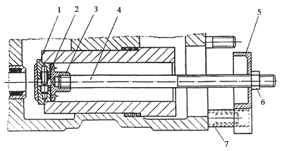
Приспособление для выемки цилиндровых втулок
Корпус 3 с захватами 1 и тягой 4 заводится в цилиндровую втулку, захваты при этом сближаются по направляющим, сжимая пружину 2 При выходе из цилиндровой втулки захваты под действием пружины расходятся и выступающими буртами упираются в торец цилиндровой втулки.
Траверса 5 своим центральным отверстием одевается на тягу, а грубы 7 - на шпильки крепления лобовой крышей. При навертывании на тягу гайки 6 происходит выемка цилиндровой втулки.

Рис. 14. Приспособление для выемки цилиндровых втулок
1 - захват; 2 -
пружина; 3 - корпус; 4 - тяга; 5 - траверса; 6 -гайка; 7 -
труба


