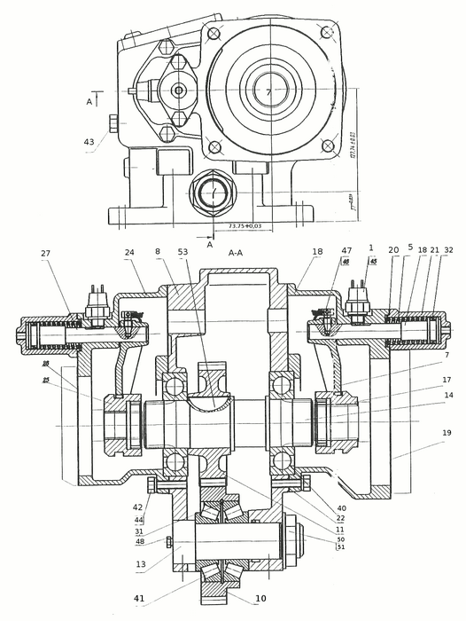
Коробка отбора мощности МП>32-4208010 (см. Рис.1) состоит из механизма зубчатой передачи от шестерни первичного вала раздаточ ой коробки к вторичному валу КОМ и устройства включения отбор» мощности. КОМ смонтирована в картере (поз.8) и устанавливается на верхний люк раздаточной коробки. Перед установкой КОМ в раздаточной коробке необходимо заменить шестерню первичного вала па шестерню, входящую в комплект КОМ.
КОМ состоит из ведущей шестерни (поз. 10), установленной на двух конических полтинниках (поз.41) с осью (поз. 13), вторичного вала (поз. 14), с установленной на ней шестеней (поз.11) с под шипит- вы мм опорами (поз.40) и механизмами включения отбора мощности, есстоя щи ми из адаптеров (поз. 16, 24), муфт (поз. 17, 25), пневмоцилинлров (поз.21) с возвратными пружинами (поз.5), штоков (поз. 18, 27) и датчиков включения отбора мощности (поз.1).
Включение механизмов отбора мощности производится путем подвода сжатого воздуха из пмевмосистемы автошасси в полость пневмоцилиндров.

Рис.1. Коробка отбора мощности МП-32-4208010
Спецификация деталей и сборочных единиц
| 1 | Выключатель света заднего хода ВК-403Б | 2 | |
| 5 | 3311-4202091-10 | Пружина возвратная | 2 |
| 7 | 4310-4204126 | Вилка включения коробки отбора мощнооти | 2 |
| 8 | МП32-4208015 | Карт ер коробки отбора мощности | 1 |
| 10 | МП24-4208О21 | Шестерня промежуточная | 1 |
| 11 | МП32-420&040 | Шестерня вторичного вала | 1 |
| 13 | N0.24-4208064 | Ось промежуточной шестерни | 1 |
| 14 | МПЗО-4206070 | Вал вторичный | 1 |
| 16 | МП32-4201МОО | Адаптер гидронасоса | 1 |
| 17 | МП30-4206401 | Муфта включения насоса | 1 |
| 18 | МП32-4208402 | Шток вилки включения | 1 |
| 19 | МП32-4208403 | Прокладка гидронасоса | 1 |
| 20 | МП32-4208404 | Прокладка пнеомоцилиндра | 2 |
| 21 | МП32-4208405 | Пневмоцилиндр | 2 |
| 22 | МП32-4208406 | Прокладка адаптера | 12 |
| 24 | МП32-4208410 | Адаптер гидронасоса | 1 |
| 25 | МПЗО-4206411 | Муфта вклочения насоса | 1 |
| 27 | МП32-4208412 | Шток вилки включения | 1 |
| 28 | МП32-4208413 | Прокладка гидронасоса | 1 |
| 31 | МП02-4215045 | Кольцо упорное | 1 |
| 32 | 100-3570228 | Кольцо | 2 |
| 40 | 312 | Подшипник шариковый однорядный ГОСТ 520-80 | 2 |
| 41 | 27709 | Подшипник роликовый конический ГОСТ 520-80 | 2 |
| 42 | L/59709/1 1 | Болт N10x1,25-60x35 табл. ВАЗ 10312 | 18 |
| 43 | 1/55400/2 3 | Болт N12x1,25-60x16 табл. ВАЗ 10312 | 3 |
| 44 | 1/03168/73 | Шайба пружинная 10 табл. ВАЗ 10188 | 18 |
| 45 | l/02783/50 | Прокладка 916x22 тобл. ВАЗ 14607 | 2 |
| 46 | 258254 | Шплинт 1,2x200 ОСТ 37.001. 172-75 | 2 |
| 47 | 833024 | Болт стопорный И10х1, 23-6ах20 | 2 |
| 48 | 1/19031/: 1 | Пробка Ml Ох 1,23-60 табл. ВАЗ 14330 | 1 |
| 50 | 853538 | Гайка М33х1,3-6Н | 1 |
| 51 | 862500 | Полба 934 | 1 |
| 53 | 870923 | Шпонка сегментная 10x17 Г0СТ8793-68 | 1 |


