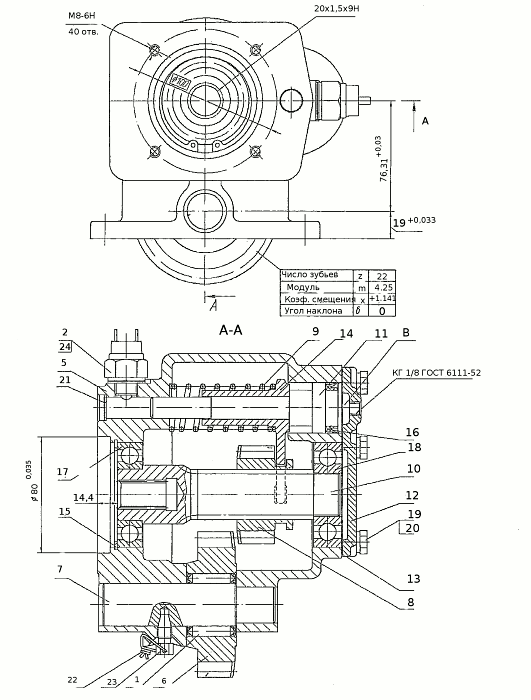
Коробка отбора мощности МП 41-4202010-50 (см. рис. 2) состоит из картера (поз.З), с установленными в его расточках оси (поз.5) с ведущей шестерней (поз.4) и роликовым подшипником (поз.1), вторичного вала (поз.8) с шестерней (поз.6), установленным на двух шарикоподшипниках (поз. 15,16) и механизма включения коробки отбора мощности в составе вилки (поз. 12) с возвратной пружиной (поз.7), штока (поз.9), манжеты (поз. 14). Уплотнение внутренних полостей КОМ осуществляется спереди и сзади - прокладкой (поз.11).
Включение режима отбора мощности производится посредством подачи в полость пневмоцилиндра сжатого воздуха через штуцер, установленный в задней крышке КОМ. Для обеспечения контроля включенного состояния КОМ, в картер установлен электрический конечный выключатель (поз.2).

Рис.2 Коробка отбора мощности МП41-4202010-50
Таблица 1 Спецификация деталей и сборочных единиц КОМ
| Поз. | Обозначение | Наименование | Количество |
| 1 | 15.1701031 | Роликоподшипник 264706 | 1 |
| 2 | B3X-2 | Выключатель света заднего хода | 1 |
| 5 | МП41-4202015-51 | Картер коробки отбора мощности | 1 |
| 6 | МП4М202021-01 | Шестерня ведущая | 1 |
| 7 | МП41-4202030 | Ось ведущей шестерни | 1 |
| 8 | МП05-4202064-01 | Шестерня ведомая | 1 |
| 9 | МП41-4202068 | Пружина возвратная | 1 |
| 10 | МП41-4202070-51 | Вал вторичный | 1 |
| 11 | МП41-4202078 | Шток вилки включения | 1 |
| 12 | МП05-4202082 | Крышка переднего подшипника | 1 |
| 13 | МП05-4202100 | Прокладка передней крышки | 1 |
| 14 | МП41-4202126 | Вилка включения | 1 |
| 15 | 740.1318064 | Кольцо Б72 ГОСТ 13943 | 1 |
| 16 | 100-3570228 | Кольцо уплотнитсльное | 1 |
| 17 | 207К5 | Подшипник шариковый радиальный | 6 |
| 18 | 306 | Подшипник шариковый радиальный | 6 |
| 19 | 1/60436/21 | Болт M8-6gx25 ГОСТ 7798-70 | 6 |
| 20 | 1/05166/73 | Шайба пружинная 8 ГОСТ 6402-70 | 6 |
| 21 | 1/01586/00 | Заглушка ф16 | 1 |
| 22 | 258254 | Шплинт 1,2x200 ОСТ 37.001.172-75 | 1 |
| 23 | 853024 | Винт установочный | 1 |
| 24 | 1/02785/50 | Прокладка ф 16x22 | 1 |


