Рисунок 3. Блок привода. Разрез по крейцкопфам

Рис. 3 Блок привода. Разрез по крейцкопфам
1 - крышка; 2 - палец
крейцкопфа; 3 - втулка бронзовая; 4 - корпус крейцкопфа
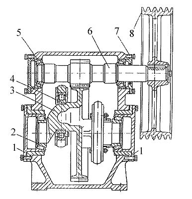
Рисунок 4 Блок привода. Разрез по валам

Рис. 4. Блок привода. Разрез по валам.
1- прокладка; 2 - подшипник
7520; 3 - вал эксцентриковый с шестернёй; 4 - подшипник 2226; 5 - подшипник
7516; 6 - вал трансмиссионный; 7 - прокладка; 8 - шкив


