
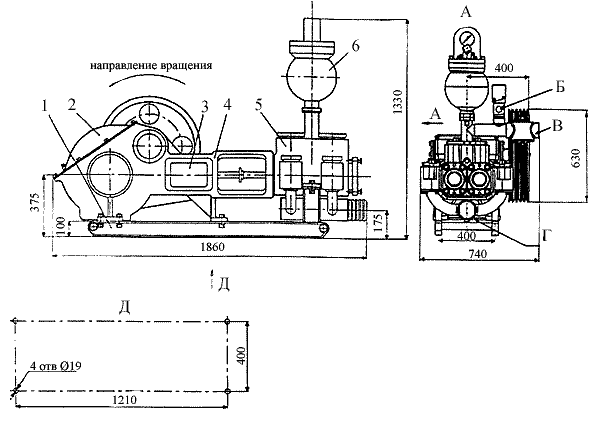
Рис.1. Общий вид насоса
1 - рама; 2 - крышка станины; 3 - крышка; 4 - блок привода; 5 - блох гидравлический; 6 - компенсатор сферический
Б - резьба (внутренняя) трубная цилиндрическая G1-B;
В - резьба
(внутренняя) трубная цилиндрическая С2 11 -В;
Г - наружный диаметр патрубка
всасывавшего коллектора 130 мм;
Д - расположение отверстий крепления рамы
насоса к фундаменту.


